- BH56020串聯氣動平衡器
-
品牌韓國東星/DONGSUNG
| 型號 | BH56020 | |
| 額定載荷 | 560kg | |
| 行程 | 2米 | |
| 氣壓 | 0.7Mpa | |
| 提升速度 | 具體咨詢 | |
| 耗氣量 | 0.13m3/行程 | |
| 重量 | 128kg | |
BH56020串聯氣動平衡器
2015-04-17 08:37:27瀏覽: 3597次
廠家通知:BH56020型氣動平衡器現已停止生產!
相關搭配:
![]() |
+ |
![]() |
+ |
![]() |
| BH56020串聯氣動平衡器 | DRS型氣動平衡器滑軌/鋼軌 | DONGSUNG懸掛式軌道輸送系統 |
BH56020串聯氣動平衡器,韓國DONGSUNG東星品牌,雙平衡吊,載荷560kg。經過CE\GS\ISO9002等多項質量認證,質量可靠高端。

BH56020串聯氣動平衡器特點:
(1)提升/懸浮功能,300mm行程的漂浮,雙手自由無阻力提升、下降以移動工件;
(2)防爆性能:氣體為動力,無火花作業;
(3)高速起升,自由調速,可以進行高頻率重物或工件的起吊、搬運、裝配、定位;
(4)斷氣保護功能,突然斷氣工件不會掉落;
(5)防超載裝置,超載時發出聲音預警;
(6)控制手柄可同時實現吊裝重物、懸浮功能。
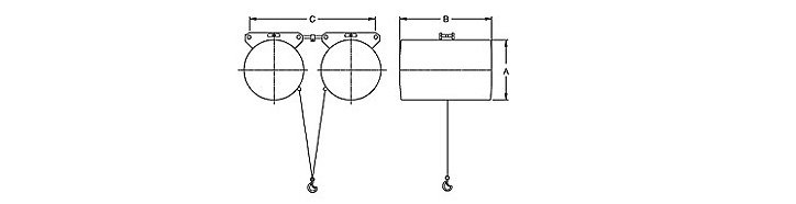
BH56020串聯氣動平衡器參數:

| 型號 | 起重量 | 行程 | 尺寸 | 自重 | ||
| KG | m | A | B | C | kg | |
| BH56020 | 560 | 2 | 355.6 | 430 | 630 | 128 |
BH56020串聯氣動平衡器圖片:

|
品質承諾:
BH56020串聯氣動平衡器,保質期12個月(易損件除外),龍海起重授權代理,可提供代理資質證明,承諾假一賠百! |


